First, the characteristics
1, high thermal efficiency, overall efficiency ≥75%.
2, the high degree of mechanization, stable, easy to operate.
3 of coals adaptable, you can use the calorific value of 4500 kcal / kg or more of a variety of coal.
4, dryer adaptable, with cross-flow, Francis, along countercurrent dryers and other drying equipment, heating facilities use.
5, low investment, low operating costs.
6, long life, the host life ≥ 10 years, ≥ 5 years exchanger.
Second, the main parameters and matching table
| Model | Applicable coal | Applicable coal | Heat exchanger inlet flue gas temperature | Hot air outlet air temperature | Exhaust gas temperature | Blower | Induced draft fan | Cleaner (straight length) | Coal loader |
| WZL-5 (120) | Ⅱ; Ⅲ kind of bituminous coal | 5×103MJ/h (120×104Kcal/h) | ≤800℃ | ≤120℃ | ≤200℃ | 4-72;No3.6A P=3KW | Y5-47;5.0C P=7.5KW | No configuration stoker | No configuration stoker |
| WZL-7.5 (180) | 7.5×103MJ/h (180×104Kcal/h) | 4-72;No4.0A P=3KW | Y5-47;5.0C P=15KW | 3000mm | Homemade common QRS inclined coal loader | ||||
| WZL-10 (240) | 10×103MJ/h (240×104Kcal/h) | 4-72;No4.0A P=5.5KW | Y5-47;6C P=22KW | 3000mm | |||||
| WZL-12.5 (300) | 12.5×103MJ/h (300×104Kcal/h) | 4-72;No4.5A P=7.5KW | Y5-47;8.0C P=22KW | 3000mm | |||||
| WZL-15 (360) | 15×103MJ/h (360×104Kcal/h) | 4-72;No4.5A P=7.5KW | Y5-47;9.0C P=30KW | 3000mm | |||||
| WZL-17.5 (420) | 17.5×103MJ/h (120×104Kcal/h) | 4-72;No5A P=15KW | Y5-47;9.0C P=37KW | 3000mm | |||||
| WZL-20 (480) | 20×103MJ/h (480×104Kcal/h) | 4-72;No5.0A P=15KW | Y5-47;10C P=37KW | 3000mm | |||||
| WZL-25 (600) | 25×103MJ/h (600×104Kcal/h) | 4-72;No6.0A P=15KW | Y5-47;10C P=45KW | 3400mm |
Note: Form 1, the slag is "single-chain scraper slag machine." 2, Java machine models: outsourcing of DGZ; made for the LSC type.
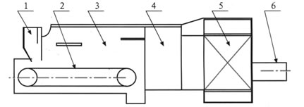
Third, the structure of FIG.
| 1. Hod 2. Grate 3. combustor 4. settling chamber 5. Heat chamber 6. hot air outlet | ![]() |





